
您的位置:
首页>企业信息公开>呼和浩特环保投资有限公司
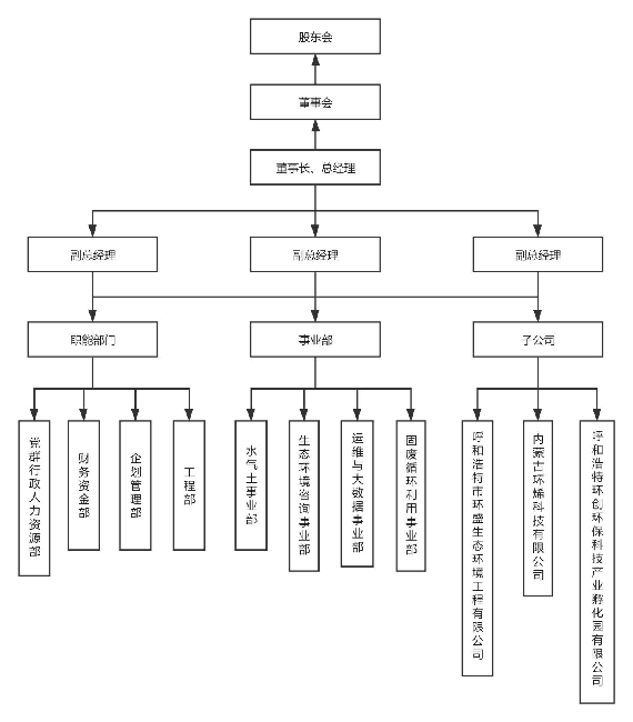
呼和浩特环保投资有限公司于2021年1月注册成立,是一家由内蒙古环保投资集团有限公司出资控股,呼和浩特市政府、新城区、回民区、玉泉区、和林格尔县所属5家国有企业出资共同参股,致力于积极创建“绿色首府”,促进区域高质量发展的新型国有企业。公司注册资本金1亿元,下辖3家控股子公司。
公司创始股东内蒙古环保投资集团有限公司成立于2017年11月,是自治区人民政府出资的全区唯一一家以治理和修复生态环境、促进生态环境产业发展为主业的大型国有企业,比照国有企业大型一档(正厅级)规格管理,注册资本金50亿元。
2021年12月,按照国企改革三年行动计划“央地互动、融通发展”要求,内蒙古环保投资集团有限公司成功实现与华润集团所属华润环保科技有限公司的战略重组,注册资本金增加至102亿元,华润控股51%,自治区政府参股49%。
公司坚持以习近平新时代中国特色社会主义思想为指导,贯彻落实人与自然和谐共生的现代化建设要求,践行“让生态环境更友好”企业使命,在区域高质量发展中彰显责任担当。